Convert Ac To Dc Motorcycle
The produced AC converted to DC and delivered to three directions maybe directly or through regulator or rectifier.
Convert ac to dc motorcycle. Difference Between AC and DC Motorcycle Electrical. The ACDC converters compact size and strong resistance make it the perfect power converter for all snowmobiles ATVs or dirt bikes. This small ACDC Converter made of aluminum will convert AC power into DC power.
In AC headlamp system the Alternate Current therefore AC generates from the motorcycle power generator. The input voltage range. Convert headlight current setup of your bikescooter from AC to DC.
All stators are AC and even after you convert the bikes electrical system to DC. Here the produced AC delivered the ignition system battery and together to the headlamp and tail lamp. The stator will always output AC it just goes through a regulator and a rectifier to make it DC.
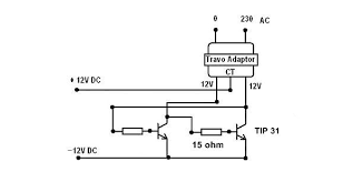
This is used to charge a 12V lead acid battery. A motorcycle still has the same engine the same gears the same brakes the same lights and everything. After watching this video you can easily do it by your.
So unless you want light when the motor isnt running you dont need a battery. I ride on this Knobby REAR TIRE - httpsamznto2MQm5. The ac dc converter from baja designs allows you to easily run led lighting off your dirt bike s stock electrical system.
For years running high performance auxiliary lights required a stator rewind aftermarket stator new regulatorrectifier and wiring harness which increases the cost and complexity of adding performance lighting to any dirt bike. AstroAI AC to DC Converter 10A110Vto12V DC120W778FT Car Cigarette Lighter Socket ACDC Power Supply Adapter Transformer for Inflator Car Refrigerator and Other Car Devices. Today motorcycle technology has developed so much that we have everything really easy for us.
